
4 way, 2 position, closed transition, solenoid operated with position indicating switch

Many cartridge valves from Sun Hydraulics are available in monitored versions with position indicating switch. This means the valve can provide system feedback via an electrical signal indicating whether it is in the open or closed position. This feature is particularly important in applications where personal safety is a priority or where requirements are defined by machinery and safety standards. Monitored valves are commonly used in industries such as steel mills and paper mills, where work and safety cells are present. They enable, for example, clear confirmation that a function is completely shut off during maintenance, or are used as part of safety-critical systems such as emergency shutdown systems.

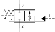
4 way, 2 position, closed transition, solenoid operated with position indicating switch

2 ports, free flow nose to side with position indication switch, excellent as flow indicator

4 ports, normally closed, dual path, proportional throttle wth position indicating switch

Pilot-to-close, spring biased open with position indicating switch, unbalanced poppet

Pilot-to-open, spring biased closed with position indicating switch, unbalanced poppet

Pilot-to-close, spring biased closed with position indicating switch, unbalanced poppet

Pilot-to-close, spring biased closed with metering notches and position indicating switch, unbalanced poppet



Monitored valves with position indicating switch provide reliable feedback via an electrical signal that indicates whether the valve is in the open or closed position. This enhances safety in applications where functional status must be clearly verified, especially in environments where machine and safety standards demand it.
The valves are equipped with a PNP solid-state sensor that offers both normally open and normally closed outputs. They come with a 4-pin M12 connector and are rated IP65, ensuring effective protection against dust and water. The valves are CE-approved and factory-set for accurate position indication. Operating voltage: 20–30 VDC.
In environments with strict safety demands—such as heavy industry— monitored valves with position indicating switch are a valuable tool to ensure that all functions operate as intended. We can provide MTTFd values (Mean Time To Dangerous Failure) to support the calculation of Performance Level (PL) in accordance with EN ISO 13849-1, the international standard for safety-related parts of control systems.
With Sun Hydraulics cartridge valves, you can count on dependable performance. All products are manufactured to the highest quality standards, and each valve is individually tested before leaving the factory to ensure both functionality and long-term reliability.



Hydnet
EA Rosengrens gata 29
421 32 Västra Frölunda
+46 31 - 499 490
info@hydnet.se