
Direktmonterade hydraulblock med SAE-fläns och o-ring enligt ISO 6162-1/2 (SAE J518) erbjuder en kompakt installation med hög kapacitet, särskilt lämpad för applikationer med stora flöden. Dessa block monteras direkt på en SAE 4-bultsfläns enligt ISO 6162-standard, vilket ger en platsbesparande och robust lösning. I Sun Hydraulics standardsortiment finns storlekar upp till SAE 3″. Blocket placeras som en ”sandwich” mellan exempelvis en cylinder eller pump och rör- eller slanganslutningen. Monteringen sker med endast sex skruvar – vanligtvis fyra för flänsanslutningen och två för slangkopplingen – vilket ger en snabb och enkel installation. Många av blocken är även utrustade med alternativa pilotportar för ökad flexibilitet i systemdesign.



SAE-flänsanslutning, 3-portsventiler, genomgående port 1.

Rörmonterat ventilblock för tryckbegränsningsventiler. 2 portar med testuttag, SAE-anslutning, genomgående inlopp och 2 utlopp.

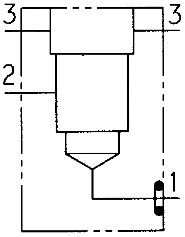
SAE-flänsanslutning, 2-portsventiler, genomgående port 1.


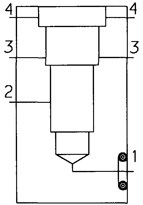
SAE-flänsanslutning, 4-portsventiler med skyttel.

SAE-flänsförhöjningsadapter / reducering.

SAE-flänsadapter med sidouttag.

SAE-flänsförhöjningsadapter samt vridning 90 grader av fläns.
• ISO 6162-1 – Klassat för upp till 210 bar (3000 psi), motsvarar SUN kod C61
• ISO 6162-2 – Klassat för upp till 420 bar (6000 psi), motsvarar SUN kod C62
Dessa klassningar är internationellt vedertagna och säkerställer kompatibilitet med andra komponenter i samma tryckområde, vilket gör det enkelt att designa standardiserade och tillförlitliga system.
SAE-flänsblocken finns tillgängliga i:
• Aluminium: För tryck upp till 3000 psi (210 bar)
• Stål: För tryck upp till 5000 psi (350 bar)
Materialvalet anpassas efter krav på tryck, vikt och miljöpåverkan. För ökad livslängd och skydd mot korrosion finns flera ytbehandlingsalternativ tillgängliga, vilket gör blocken lämpliga även för tuffa driftsförhållanden eller utomhusinstallationer.



Hydnet
EA Rosengrens gata 29
421 32 Västra Frölunda
031 - 499 490
info@hydnet.se